
The Insta-Sight is TC’s own collimator sight solution. Primarily targeted at competition shooters and handgun hunters, it was a low profile and lightweight way to aim without the burdens of traditional iron sights, at a time where electronic illuminated scopes and red dot sights were not yet commonplace.



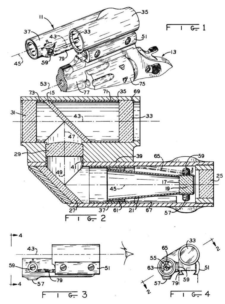
Functionally, it collimates light much like a Weaver Qwik-Point which was released just five years earlier, projecting the reticle into space. The reticle itself is a perforated metal disc. It is configured to be parallax free and the reticle in-focus at 50 yards. Below is a diagram from their marketing material.

Coming with a dovetail clamp, you will need an adapter bracket to mount to most firearms.
| P/N | Description |
| 8500 | Insta-Sight |
| 8501 | Mounting base for Contender barrels except vent rib models. Drilling and tapping not required |
| 8505 | Mounting base for S&W (Models 14, 15, 17, 18, 19, 25, 27, 28, 29, 30, 48, 57, 66, and 67 |
| 8506 | Mounting base for Ruger Blackhawk, Super Blackhawk, and Super Single Six |
| 8507 | Mounting base for Dan Wesson revolvers with adjustable sights |
| 8508 | Mounting base for Colt Python .357 Magnum, Trooper, Officers Match model and New Frontier |
While not listed, it could also be mounted to grooved receiver .22 rifles, and Winchester 94 centerfire models.
While advanced for its time, the sight was not without drawbacks. The reticle is unusably large at handgun eye-relief length, and the lens is very purple.

The patent was applied for in 1975, and granted in 1976. (US3992782A)

Originally costing $73.00 and coming in a small carboard box, these can be found today for ~$100-150 on the second hand market.
DATA AND SPECIFICATIONS
| Magnification | None | Length | 2.75″ |
| Eye Relief | 0-36″ | Width | 1.45″ |
| Viewing Diameter | .562″ | Height | 1.25″ |
| Elevation/Windage Adjustment | 1″ Increments at 50yd | Weight | 141.25g |
| Reticle Width | 1.5″ at cross wire intersection at 50yd | Usable Temperature Range | -45 to 180 degF |
| Reticle Type | Open center, tapered green crosswire | Optical System | Anti-reflection coating, nitrogen filled |
DOWNLOADS AND MEDIA






Leave a Reply